← Управление и механизм переключения раздаточной коробки Карданная передача →
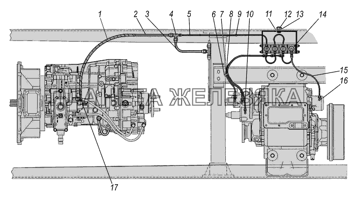
Установка управления раздаточной коробкой УРАЛ-44202-3511-80
  Номер детали Наименование детали  
1 4320Я5-1803398 Лента защитная
Подробнее
Дополнительная информация:
Кол-во на "44202-3511-80" 1
Модель 4320РЇ5
Группа Коробка раздаточная
Подгруппа Механизм переключения передач
Порядковый номер детали 398
2 43202-1803392 Трубка воздуховодная 10
Подробнее
Дополнительная информация:
Кол-во на "44202-3511-80" 1
Модель 43202
Группа Коробка раздаточная
Подгруппа Механизм переключения передач
Порядковый номер детали 392
3 4320Я5-1803390 Трубка воздуховодная 10
Подробнее
Дополнительная информация:
Кол-во на "44202-3511-80" 1
Модель 4320РЇ5
Группа Коробка раздаточная
Подгруппа Механизм переключения передач
Порядковый номер детали 390
4 337759 Тройник
Подробнее
Дополнительная информация:
Кол-во на "44202-3511-80" 1
Покрытие без покрытия
5 4320ЯХ-4202422 Трубка воздуховодная 5
Подробнее
Дополнительная информация:
Кол-во на "44202-3511-80" 1
Модель 4320РЇРҐ
Группа Спецоборудование
Подгруппа Коробка отбора мощности односкоростная
Порядковый номер детали 422
6 375-8402321 Буфер
Подробнее
Дополнительная информация:
Кол-во на "44202-3511-80" 1
Модель 375
Группа Оперение
Подгруппа Капот
Порядковый номер детали 321
7 42099076 Хомут
Подробнее
Дополнительная информация:
Кол-во на "44202-3511-80" 1
Примечание Нет
8 43202-1803380 Трубка воздуховодная 5
Подробнее
Дополнительная информация:
Кол-во на "44202-3511-80" 2
Модель 43202
Группа Коробка раздаточная
Подгруппа Механизм переключения передач
Порядковый номер детали 380
9 25310 Хомут
Подробнее
Дополнительная информация:
Кол-во на "44202-3511-80" 3
Примечание Нет
10 43202-1803382 Трубка воздуховодная 5
Подробнее
Дополнительная информация:
Кол-во на "44202-3511-80" 1
Модель 43202
Группа Коробка раздаточная
Подгруппа Механизм переключения передач
Порядковый номер детали 382
11 55571-2402066 Болт М16х1,5х34
Подробнее
Дополнительная информация:
Кол-во на "44202-3511-80" 2
Модель 55571
Группа Мост задний
Подгруппа Редуктор заднего моста (главная передача)
Порядковый номер детали 066
12 250561-П29 Гайка М16х1,5-6Н
Подробнее
Дополнительная информация:
Кол-во на "44202-3511-80" 2
Покрытие цинкование и пассивирование (цинковое с хроматированием)
  Код Название Артикул Цена
Гайка М16х1.5х14.8 шпильки полуоси заднего моста ЗИЛ ЭТНА 610330 Гайка М16х1.5х14.8 шпильки полуоси заднего моста ЗИЛ ЭТНА 250561-П29 25,00 р.
13 252139-П2 Шайба 16
Подробнее
Дополнительная информация:
Кол-во на "44202-3511-80" 2
Покрытие фосфатирование и промасливание
14 4320П2-1803340 Блок электроклапанов КЭБ-420 с кронштейном
Подробнее
Дополнительная информация:
Кол-во на "44202-3511-80" 1
Примечание Нет
Модель 4320Рџ2
Группа Коробка раздаточная
Подгруппа Механизм переключения передач
Порядковый номер детали 340
15 43202-1803384 Трубка воздуховодная 5
Подробнее
Дополнительная информация:
Кол-во на "44202-3511-80" 1
Модель 43202
Группа Коробка раздаточная
Подгруппа Механизм переключения передач
Порядковый номер детали 384
16 339520-П29 Угольник М10х1 К1/8"
Подробнее
Дополнительная информация:
Кол-во на "44202-3511-80" 4
Покрытие цинкование и пассивирование (цинковое с хроматированием)
17 DS651010-М12х1,5-S Фитинг прямой
Подробнее
Дополнительная информация:
Кол-во на "44202-3511-80" 1
Примечание Нет
Покрытие без покрытия