| |
№ |
Номер детали |
Наименование детали |
|
|
|
|
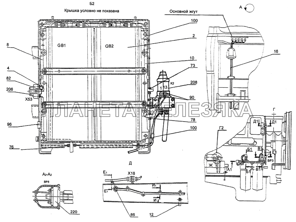
0000-3703402 |
Батарея аккумуляторная 6СТ-190ТР (ТН)
Подробнее
Дополнительная информация:
| Кол-во на "79092, 7429" |
2 |
| РљР§ Р’С…РѕРґРёС‚ РІ |
03 |
|
547Рђ-3703010 |
| Модель |
0000 |
| Группа |
Электрооборудование |
| Подгруппа |
Батарея аккумуляторная |
| Порядковый номер детали |
402 |
| ОКПО класс |
34 Оборудование и материалы электротехнические |
| ОКПО подкласс |
8 Источники тока химические, физические, генераторы электрохимические, термоэлектрические и термоэмиссионные |
|
|
|
|
|
79092-3724159 |
Жгут проводов N1 двигателя
Подробнее
Дополнительная информация:
| Кол-во на "79092, 7429" |
1 |
|
79092-3724158 |
| Модель |
79092 |
| Группа |
Электрооборудование |
| Подгруппа |
Электропровода |
| Порядковый номер детали |
159 |
|
|
|
|
2 |
547А-3703010 |
Батарея заряженная
Подробнее
Дополнительная информация:
| Кол-во на "79092, 7429" |
2 |
| РљР§ Р’С…РѕРґРёС‚ РІ |
10 |
|
79092-3700015 |
| Модель |
547Рђ |
| Группа |
Электрооборудование |
| Подгруппа |
Батарея аккумуляторная |
| Порядковый номер детали |
010 |
| ОКПО класс |
45 Изделия автомобильной промышленности |
| ОКПО подкласс |
3 Агрегаты, узлы и детали автомобилей грузовых, специализированных, автопогрузчиков и кузовов- фургонов специальных |
| Вид изделия |
60-65 - винты самонарезающие |
| Вид покрытия |
8 - не определено |
|
|
|
|
4 |
79092-3724039-10 |
Жгут проводов розетки
Подробнее
Дополнительная информация:
| Кол-во на "79092, 7429" |
1 |
|
79092-3700015 |
| Модель |
79092 |
| Группа |
Электрооборудование |
| Подгруппа |
Электропровода |
| Порядковый номер детали |
039 |
| Дополнительно |
Не взаимозаменяема с деталью, выпущенной ранее под этим же номером |
|
|
|
|
8 |
79092-3724062 |
Провод стартера
Подробнее
Дополнительная информация:
| Кол-во на "79092, 7429" |
1 |
|
79092-3700015 |
| Модель |
79092 |
| Группа |
Электрооборудование |
| Подгруппа |
Электропровода |
| Порядковый номер детали |
062 |
|
|
|
|
10 |
69237-3724062 |
Провод массы
Подробнее
Дополнительная информация:
| Кол-во на "79092, 7429" |
1 |
|
79092-3700015 |
| Модель |
69237 |
| Группа |
Электрооборудование |
| Подгруппа |
Электропровода |
| Порядковый номер детали |
062 |
|
|
|
|
12 |
7413-3724084 |
Провод массы
Подробнее
Дополнительная информация:
| Кол-во на "79092, 7429" |
1 |
|
79092-3700015 |
| Модель |
7413 |
| Группа |
Электрооборудование |
| Подгруппа |
Электропровода |
| Порядковый номер детали |
084 |
|
|
|
|
16 |
79092-3724158 |
Жгут проводов N1 по двигателю
Подробнее
Дополнительная информация:
| Кол-во на "79092, 7429" |
1 |
|
79092-3700015 |
| Модель |
79092 |
| Группа |
Электрооборудование |
| Подгруппа |
Электропровода |
| Порядковый номер детали |
158 |
|
|
|
|
73 |
200-3724015 |
Втулка
Подробнее
Дополнительная информация:
| Кол-во на "79092, 7429" |
1 |
| РљР§ Р’С…РѕРґРёС‚ РІ |
07 |
|
79092-3700015 |
| Модель |
200 |
| Группа |
Электрооборудование |
| Подгруппа |
Электропровода |
| Порядковый номер детали |
015 |
| ОКПО класс |
45 Изделия автомобильной промышленности |
| ОКПО подкласс |
3 Агрегаты, узлы и детали автомобилей грузовых, специализированных, автопогрузчиков и кузовов- фургонов специальных |
| Вид изделия |
40-49 - винты |
| Вид покрытия |
1 - цинковое с хроматированием (цинкование и пассивирование(П29) |
|
|
|
|
76 |
500-3724065 |
Втулка
Подробнее
Дополнительная информация:
| Кол-во на "79092, 7429" |
1 |
| РљР§ Р’С…РѕРґРёС‚ РІ |
05 |
|
79092-3700015 |
| Модель |
500 |
| Группа |
Электрооборудование |
| Подгруппа |
Электропровода |
| Порядковый номер детали |
065 |
| ОКПО класс |
45 Изделия автомобильной промышленности |
| ОКПО подкласс |
3 Агрегаты, узлы и детали автомобилей грузовых, специализированных, автопогрузчиков и кузовов- фургонов специальных |
| Вид изделия |
40-49 - винты |
| Вид покрытия |
1 - цинковое с хроматированием (цинкование и пассивирование(П29) |
|
|
|
|
78 |
5336-3724068 |
Втулка
Подробнее
Дополнительная информация:
| Кол-во на "79092, 7429" |
1 |
| РљР§ Р’С…РѕРґРёС‚ РІ |
01 |
|
79092-3700015 |
| Модель |
5336 |
| Группа |
Электрооборудование |
| Подгруппа |
Электропровода |
| Порядковый номер детали |
068 |
| ОКПО класс |
45 Изделия автомобильной промышленности |
| ОКПО подкласс |
3 Агрегаты, узлы и детали автомобилей грузовых, специализированных, автопогрузчиков и кузовов- фургонов специальных |
| Вид изделия |
50-54 - шпильки |
| Вид покрытия |
4 - многослойное медь-никель-хром (хромирование блестящее с полировкой (П13) |
|
|
|
|
82 |
500А-3724152 |
Чехол защитный
Подробнее
Дополнительная информация:
| Кол-во на "79092, 7429" |
1 |
| РљР§ Р’С…РѕРґРёС‚ РІ |
10 |
|
79092-3700015 |
| Модель |
500Рђ |
| Группа |
Электрооборудование |
| Подгруппа |
Электропровода |
| Порядковый номер детали |
152 |
| ОКПО класс |
45 Изделия автомобильной промышленности |
| ОКПО подкласс |
3 Агрегаты, узлы и детали автомобилей грузовых, специализированных, автопогрузчиков и кузовов- фургонов специальных |
| Вид изделия |
50-54 - шпильки |
| Вид покрытия |
0 - без покрытия (П) |
|
|
|
|
86 |
547А-3724746 |
Втулка
Подробнее
Дополнительная информация:
| Кол-во на "79092, 7429" |
1 |
| РљР§ Р’С…РѕРґРёС‚ РІ |
05 |
|
79092-3700015 |
| Модель |
547Рђ |
| Группа |
Электрооборудование |
| Подгруппа |
Электропровода |
| Порядковый номер детали |
746 |
| ОКПО класс |
45 Изделия автомобильной промышленности |
| ОКПО подкласс |
3 Агрегаты, узлы и детали автомобилей грузовых, специализированных, автопогрузчиков и кузовов- фургонов специальных |
| Вид изделия |
60-65 - винты самонарезающие |
| Вид покрытия |
3 - многослойное медь-никель (никелирование и полировка (П6) |
|
|
|
|
90 |
543-3724072 |
Колпак защитный
Подробнее
Дополнительная информация:
| Кол-во на "79092, 7429" |
3 |
| РљР§ Р’С…РѕРґРёС‚ РІ |
09 |
|
79092-3724158, 79092-3724160 |
| Модель |
543 |
| Группа |
Электрооборудование |
| Подгруппа |
Электропровода |
| Порядковый номер детали |
072 |
| ОКПО класс |
45 Изделия автомобильной промышленности |
| ОКПО подкласс |
3 Агрегаты, узлы и детали автомобилей грузовых, специализированных, автопогрузчиков и кузовов- фургонов специальных |
| Вид изделия |
60-65 - винты самонарезающие |
| Вид покрытия |
5 - окисное (оксидирование (П15) |
|
|
|
|
96 |
54322-3748049 |
Заглушка
Подробнее
Дополнительная информация:
| Кол-во на "79092, 7429" |
1 |
| РљР§ Р’С…РѕРґРёС‚ РІ |
02 |
|
79092-3700015 |
| Модель |
54322 |
| Группа |
Электрооборудование |
| Подгруппа |
3748 |
| Порядковый номер детали |
049 |
| ОКПО класс |
45 Изделия автомобильной промышленности |
| ОКПО подкласс |
3 Агрегаты, узлы и детали автомобилей грузовых, специализированных, автопогрузчиков и кузовов- фургонов специальных |
| Вид изделия |
40-49 - винты |
| Вид покрытия |
5 - окисное (оксидирование (П15) |
|
|
|
|
100 |
54322-3748069 |
Усилитель
Подробнее
Дополнительная информация:
| Кол-во на "79092, 7429" |
2 |
| РљР§ Р’С…РѕРґРёС‚ РІ |
10 |
|
79092-3700015 |
| Модель |
54322 |
| Группа |
Электрооборудование |
| Подгруппа |
3748 |
| Порядковый номер детали |
069 |
| ОКПО класс |
45 Изделия автомобильной промышленности |
| ОКПО подкласс |
3 Агрегаты, узлы и детали автомобилей грузовых, специализированных, автопогрузчиков и кузовов- фургонов специальных |
| Вид изделия |
40-49 - винты |
| Вид покрытия |
5 - окисное (оксидирование (П15) |
|
|
|
|
206 |
ПС400-3723100 |
Розетка переносной лампы ПС400
Подробнее
Дополнительная информация:
| Кол-во на "79092, 7429" |
1 |
|
79092-3700015 |
| Модель |
РџРЎ400 |
| Группа |
Электрооборудование |
| Подгруппа |
Соединители электропроводов |
| Порядковый номер детали |
100 |
| ОКПО класс |
45 Изделия автомобильной промышленности |
| ОКПО подкласс |
7 Аппаратура топливная, электрооборудование и приборы автомобилей, тракторов, сельскохозяйственных машин и мотоциклов, оборудование гаражное для автотранспортных средств. Узлы и детали гаражного оборудования |
| Вид изделия |
30-39 - болты |
| Вид покрытия |
2 - кадмиевое с хроматированием (П21) |
|
|
|
|
208 |
ВК860Б-3737000 |
Выключатель «массы» ВК860Б
Подробнее
Дополнительная информация:
| Кол-во на "79092, 7429" |
1 |
|
79092-3700015 |
| Модель |
Р’Рљ860Р‘ |
| Группа |
Электрооборудование |
| Подгруппа |
Выключатель массы (батареи) |
| Порядковый номер детали |
000 |
| ОКПО класс |
45 Изделия автомобильной промышленности |
| ОКПО подкласс |
7 Аппаратура топливная, электрооборудование и приборы автомобилей, тракторов, сельскохозяйственных машин и мотоциклов, оборудование гаражное для автотранспортных средств. Узлы и детали гаражного оборудования |
| Вид изделия |
30-39 - болты |
| Вид покрытия |
4 - многослойное медь-никель-хром (хромирование блестящее с полировкой (П13) |
|
|
|
|
220 |
132-3839600 |
Датчик сигнализатора засоренности воздушного фильтра 132.3839
Подробнее
Дополнительная информация:
| Кол-во на "79092, 7429" |
1 |
| РљР§ Р’С…РѕРґРёС‚ РІ |
03 |
|
79092-3700015 |
| Модель |
132 |
| Группа |
Приборы |
| Подгруппа |
Датчик уровня эксплуатационных жидкостей |
| Порядковый номер детали |
600 |
| ОКПО класс |
45 Изделия автомобильной промышленности |
| ОКПО подкласс |
7 Аппаратура топливная, электрооборудование и приборы автомобилей, тракторов, сельскохозяйственных машин и мотоциклов, оборудование гаражное для автотранспортных средств. Узлы и детали гаражного оборудования |
| Вид изделия |
30-39 - болты |
| Вид покрытия |
8 - не определено |
|
|