← Блок управления сцеплением 650119-1602004 Механизм промежуточный 533742-1703325 →
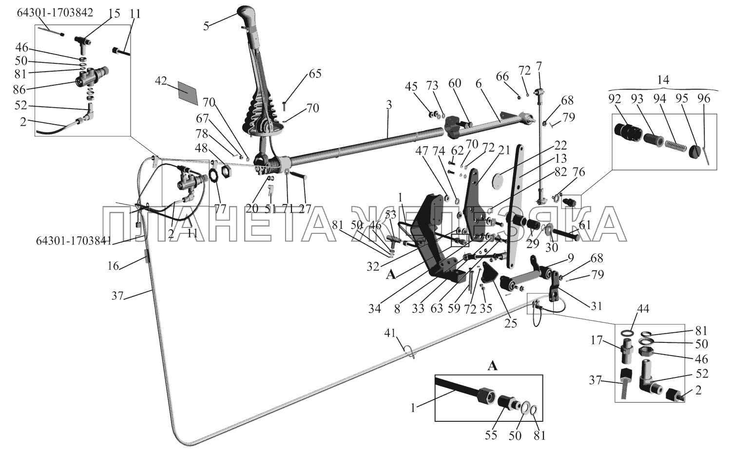
Привод переключения коробки передач 64302-1700002-010 МАЗ-651669-320 (340)
  Номер детали Наименование детали  
1 544022-1602940 Трубка
Подробнее
Дополнительная информация:
Кол-во на "651669-320, 651669-340" 1
Модель 544022
Группа Сцепление
Подгруппа Педаль и привод управления сцеплением
Порядковый номер детали 940
2 63031-1705070 Трубка в сборе
Подробнее
Дополнительная информация:
Кол-во на "651669-320, 651669-340" 1
Модель 63031
Группа Коробка передач
Подгруппа 1705
Порядковый номер детали 070
3 533742-1703325 Механизм промежуточный
Подробнее
Дополнительная информация:
Кол-во на "651669-320, 651669-340" 1
Модель 533742
Группа Коробка передач
Подгруппа Механизм управления КПП
Порядковый номер детали 325
  Код Название Артикул Цена
Механизм переключения передач МАЗ промежуточный СБ БААЗ 129207 Механизм переключения передач МАЗ промежуточный СБ БААЗ 533742-1703325 12 100,00 р.
5 64301-1703410-060 Рычаг
Подробнее
Дополнительная информация:
Кол-во на "651669-320, 651669-340" 1
Модель 64301
Группа Коробка передач
Подгруппа Механизм управления КПП
Порядковый номер детали 410
6 64302-1703448-020 Хвостовик в сборе
Подробнее
Дополнительная информация:
Кол-во на "651669-320, 651669-340" 1
Модель 64302
Группа Коробка передач
Подгруппа Механизм управления КПП
Порядковый номер детали 448
7 64302-1703490-010 Тяга реактивная в сборе
Подробнее
Дополнительная информация:
Кол-во на "651669-320, 651669-340" 1
Модель 64302
Группа Коробка передач
Подгруппа Механизм управления КПП
Порядковый номер детали 490
Механизм переключения передач МАЗ промежуточный СБ БААЗ 8 64221-1703490-01 Тяга реактивная в сборе
Подробнее
Дополнительная информация:
Кол-во на "651669-320, 651669-340" 1
Модель 64221
Группа Коробка передач
Подгруппа Механизм управления КПП
Порядковый номер детали 490
  Код Название Артикул Цена
Тяга КПП МАЗ-64221 выбора передач СБ ОАО МАЗ 128850 Тяга КПП МАЗ-64221 выбора передач СБ ОАО МАЗ 64221-1703490-01 3 600,00 р.
9 64302-1703447 Хвостовик
Подробнее
Дополнительная информация:
Кол-во на "651669-320, 651669-340" 1
Модель 64302
Группа Коробка передач
Подгруппа Механизм управления КПП
Порядковый номер детали 447
11 64221-1705072-01 Трубка
Подробнее
Дополнительная информация:
Кол-во на "651669-320, 651669-340" 1
Модель 64221
Группа Коробка передач
Подгруппа 1705
Порядковый номер детали 072
13 64302-1703700-010 Рычаг
Подробнее
Дополнительная информация:
Кол-во на "651669-320, 651669-340" 1
Модель 64302
Группа Коробка передач
Подгруппа Механизм управления КПП
Порядковый номер детали 700
14 64302-1703705 Фиксатор в сборе
Подробнее
Дополнительная информация:
Кол-во на "651669-320, 651669-340" 1
Модель 64302
Группа Коробка передач
Подгруппа Механизм управления КПП
Порядковый номер детали 705
Тяга КПП МАЗ-64221 выбора передач СБ ОАО МАЗ 15 544022-1703790 Тройник в сборе
Подробнее
Дополнительная информация:
Кол-во на "651669-320, 651669-340" 1
Модель 544022
Группа Коробка передач
Подгруппа Механизм управления КПП
Порядковый номер детали 790
  Код Название Артикул Цена
Тройник М12х12хD4 МАЗ привода КПП СБ ОАО МАЗ СБ 435333 Тройник М12х12хD4 МАЗ привода КПП СБ ОАО МАЗ СБ 544022-1703790 950,00 р.
Тройник М12х12хD4 МАЗ привода КПП СБ ОАО МАЗ СБ 16 64301-1703860 Переходник
Подробнее
Дополнительная информация:
Кол-во на "651669-320, 651669-340" 1
Модель 64301
Группа Коробка передач
Подгруппа Механизм управления КПП
Порядковый номер детали 860
  Код Название Артикул Цена
Переходник МАЗ-6430,5440 трубопровода КПП СБ ОАО МАЗ 132641 Переходник МАЗ-6430,5440 трубопровода КПП СБ ОАО МАЗ 64301-1703860 850,00 р.
Переходник МАЗ-6430,5440 трубопровода КПП СБ ОАО МАЗ 17 543265-1703860 Переходник
Подробнее
Дополнительная информация:
Кол-во на "651669-320, 651669-340" 1
Модель 543265
Группа Коробка передач
Подгруппа Механизм управления КПП
Порядковый номер детали 860
  Код Название Артикул Цена
Переходник МАЗ-6430,5440 трубопровода КПП ОАО МАЗ 687737 Переходник МАЗ-6430,5440 трубопровода КПП ОАО МАЗ 543265-1703860 500,00 р.
20 500-1104541-Б Втулка
Подробнее
Дополнительная информация:
Кол-во на "651669-320, 651669-340" 3
Модель 500
Группа Cистема питания двигателя
Подгруппа Трубопроводы топливные
Порядковый номер детали 541
Дополнительно Взаимозаменяема с деталью, выпущенной ранее под этим же номером
21 64302-1702214-010 Кронштейн
Подробнее
Дополнительная информация:
Кол-во на "651669-320, 651669-340" 1
Модель 64302
Группа Коробка передач
Подгруппа Механизм переключения передач
Порядковый номер детали 214
22 64302-1702215-010 Сухарь
Подробнее
Дополнительная информация:
Кол-во на "651669-320, 651669-340" 1
Модель 64302
Группа Коробка передач
Подгруппа Механизм переключения передач
Порядковый номер детали 215
25 64302-1703454 Кронштейн
Подробнее
Дополнительная информация:
Кол-во на "651669-320, 651669-340" 1
Модель 64302
Группа Коробка передач
Подгруппа Механизм управления КПП
Порядковый номер детали 454
Переходник МАЗ-6430,5440 трубопровода КПП ОАО МАЗ 27 54321-1703618 Ось
Подробнее
Дополнительная информация:
Кол-во на "651669-320, 651669-340" 1
Модель 54321
Группа Коробка передач
Подгруппа Механизм управления КПП
Порядковый номер детали 618
  Код Название Артикул Цена
Ось МАЗ привода управления КПП М8х1,0 ОАО МАЗ 238593 Ось МАЗ привода управления КПП М8х1,0 ОАО МАЗ 54321-1703618 400,00 р.
29 64302-1703704 Втулка, Bush
Подробнее
Дополнительная информация:
Кол-во на "651669-320, 651669-340" 1
Модель 64302
Группа Коробка передач
Подгруппа Механизм управления КПП
Порядковый номер детали 704
30 64302-1703717 Стакан
Подробнее
Дополнительная информация:
Кол-во на "651669-320, 651669-340" 1
Модель 64302
Группа Коробка передач
Подгруппа Механизм управления КПП
Порядковый номер детали 717
31 64302-1703718 Рычаг
Подробнее
Дополнительная информация:
Кол-во на "651669-320, 651669-340" 1
Модель 64302
Группа Коробка передач
Подгруппа Механизм управления КПП
Порядковый номер детали 718
32 64302-1703720 Втулка
Подробнее
Дополнительная информация:
Кол-во на "651669-320, 651669-340" 8
Модель 64302
Группа Коробка передач
Подгруппа Механизм управления КПП
Порядковый номер детали 720
33 64302-1703721 Шайба
Подробнее
Дополнительная информация:
Кол-во на "651669-320, 651669-340" 4
Модель 64302
Группа Коробка передач
Подгруппа Механизм управления КПП
Порядковый номер детали 721
34 64302-1703722 Втулка
Подробнее
Дополнительная информация:
Кол-во на "651669-320, 651669-340" 4
Модель 64302
Группа Коробка передач
Подгруппа Механизм управления КПП
Порядковый номер детали 722
35 64302-1703723 Втулка
Подробнее
Дополнительная информация:
Кол-во на "651669-320, 651669-340" 2
Модель 64302
Группа Коробка передач
Подгруппа Механизм управления КПП
Порядковый номер детали 723
37 64301-1703794 Трубка (L=400мм)
Подробнее
Дополнительная информация:
Кол-во на "651669-320, 651669-340" 1
Модель 64301
Группа Коробка передач
Подгруппа Механизм управления КПП
Порядковый номер детали 794
41 6430-2724624 Хомут
Подробнее
Дополнительная информация:
Кол-во на "651669-320, 651669-340" 2
Модель 6430
Группа Устройство седельное
Подгруппа 2724
Порядковый номер детали 624
42 64302-3903049 Табличка информационная
Подробнее
Дополнительная информация:
Кол-во на "651669-320, 651669-340" 1
Модель 64302
Группа Инструмент шоферский и принадлежности
Подгруппа Таблички (инструкционные)
Порядковый номер детали 049
44 312434-П Прокладка
Подробнее
Дополнительная информация:
Кол-во на "651669-320, 651669-340" 1
Покрытие без покрытия
45 250514 Гайка М12-6Н
Подробнее
Дополнительная информация:
Кол-во на "651669-320, 651669-340" 2
Покрытие без покрытия
46 374614 Гайка М12х1,5-5Н6Н
Подробнее
Дополнительная информация:
Кол-во на "651669-320, 651669-340" 4
Покрытие без покрытия
47 250636 Гайка М16х1,5-6Н
Подробнее
Дополнительная информация:
Кол-во на "651669-320, 651669-340" 1
Покрытие без покрытия
48 375040 Гайка М26х1,5-6Н
Подробнее
Дополнительная информация:
Кол-во на "651669-320, 651669-340" 1
Покрытие без покрытия
Ось МАЗ привода управления КПП М8х1,0 ОАО МАЗ 50 375818 Шайба 12
Подробнее
Дополнительная информация:
Кол-во на "651669-320, 651669-340" 6
Покрытие без покрытия
  Код Название Артикул Цена
Шайба МАЗ конусная ф 12 МАЗ ОАО 747573 Шайба МАЗ конусная ф 12 МАЗ ОАО 375818 18,00 р.
51 379164 Кляммер
Подробнее
Дополнительная информация:
Кол-во на "651669-320, 651669-340" 3
Покрытие без покрытия
ОКПО класс 45 Изделия автомобильной промышленности
ОКПО подкласс 3 Агрегаты, узлы и детали автомобилей грузовых, специализированных, автопогрузчиков и кузовов- фургонов специальных
Вид изделия 60-65 - винты самонарезающие
Вид покрытия 1 - цинковое с хроматированием (цинкование и пассивирование(П29)
Шайба МАЗ конусная ф 12 МАЗ ОАО 52 402737 Угольник
Подробнее
Дополнительная информация:
Кол-во на "651669-320, 651669-340" 2
Покрытие без покрытия
  Код Название Артикул Цена
Угольник М12х12 МАЗ 413991 Угольник М12х12 МАЗ 402737 230,00 р.
Угольник М12х12 МАЗ 53 403086 Тройник
Подробнее
Дополнительная информация:
Кол-во на "651669-320, 651669-340" 1
Покрытие без покрытия
  Код Название Артикул Цена
Тройник М16х16х12 МАЗ тормозной системы 235638 Тройник М16х16х12 МАЗ тормозной системы 403086 550,00 р.
55 404209 Штуцер
Подробнее
Дополнительная информация:
Кол-во на "651669-320, 651669-340" 1
Покрытие без покрытия
ОКПО класс 45 Изделия автомобильной промышленности
ОКПО подкласс 3 Агрегаты, узлы и детали автомобилей грузовых, специализированных, автопогрузчиков и кузовов- фургонов специальных
Вид изделия 40-49 - винты
Вид покрытия 6 - фосфатное с промасливанием (П2)
59 200276 Болт М8-6gх85
Подробнее
Дополнительная информация:
Кол-во на "651669-320, 651669-340" 2
Покрытие без покрытия
60 200367 Болт М12-6gх45
Подробнее
Дополнительная информация:
Кол-во на "651669-320, 651669-340" 2
Покрытие без покрытия
61 200897 Болт М16х1,5-6gх110
Подробнее
Дополнительная информация:
Кол-во на "651669-320, 651669-340" 1
Покрытие без покрытия
62 201458 Болт М8-6gх25
Подробнее
Дополнительная информация:
Кол-во на "651669-320, 651669-340" 2
Покрытие без покрытия
63 370862 Болт М10-6gх28
Подробнее
Дополнительная информация:
Кол-во на "651669-320, 651669-340" 4
Покрытие без покрытия
65 109-1200820 Винт М8-6gх20
Подробнее
Дополнительная информация:
Модель 109
Группа Система выпуска газов двигателя
Подгруппа 1200
Порядковый номер детали 820
65 401033 Винт М8-6gх20
Подробнее
Дополнительная информация:
Кол-во на "651669-320, 651669-340" 4
Покрытие без покрытия
66 250510 Гайка М8-6Н
Подробнее
Дополнительная информация:
Кол-во на "651669-320, 651669-340" 8
Покрытие без покрытия
Тройник М16х16х12 МАЗ тормозной системы 67 250975 Гайка М8х1-6Н
Подробнее
Дополнительная информация:
Кол-во на "651669-320, 651669-340" 1
Покрытие без покрытия
  Код Название Артикул Цена
Гайка М8х1 МАЗ оси вилки рычага КПП корончатая МАЗ ОАО 697734 Гайка М8х1 МАЗ оси вилки рычага КПП корончатая МАЗ ОАО 250975 60,00 р.
68 250977 Гайка М12х1,25-6Н
Подробнее
Дополнительная информация:
Кол-во на "651669-320, 651669-340" 3
Покрытие без покрытия
Гайка М8х1 МАЗ оси вилки рычага КПП корончатая МАЗ ОАО 70 252005 Шайба 8
Подробнее
Дополнительная информация:
Кол-во на "651669-320, 651669-340" 7
Покрытие без покрытия
  Код Название Артикул Цена
Ремкомплект суппорта MERCEDES Sprinter,VW LT заднего лев/прав FRENKIT 725745 Ремкомплект суппорта MERCEDES Sprinter,VW LT заднего лев/прав FRENKIT 252005 (OEM A0014202583) 360,00 р.
71 252007 Шайба 12
Подробнее
Дополнительная информация:
Кол-во на "651669-320, 651669-340" 1
Покрытие без покрытия
72 252135 Шайба 8Т
Подробнее
Дополнительная информация:
Кол-во на "651669-320, 651669-340" 4
Покрытие без покрытия
73 252157 Шайба 124
Подробнее
Дополнительная информация:
Кол-во на "651669-320, 651669-340" 2
Покрытие без покрытия
74 252159 Шайба 16Л
Подробнее
Дополнительная информация:
Кол-во на "651669-320, 651669-340" 1
Покрытие без покрытия
76 252161 Шайба 20Л
Подробнее
Дополнительная информация:
Кол-во на "651669-320, 651669-340" 1
Покрытие без покрытия
ОКПО класс 45 Изделия автомобильной промышленности
ОКПО подкласс 9 Унифицированные узлы, детали и крепежные изделия, применяемые в автомобильной промышленности, и ремонтно-эксплуатационные комплекты
Вид изделия 55-59 - гайки
Вид покрытия 1 - цинковое с хроматированием (цинкование и пассивирование(П29)
77 376196 Шайба 27
Подробнее
Дополнительная информация:
Кол-во на "651669-320, 651669-340" 1
Покрытие без покрытия
ОКПО класс 45 Изделия автомобильной промышленности
ОКПО подкласс 9 Унифицированные узлы, детали и крепежные изделия, применяемые в автомобильной промышленности, и ремонтно-эксплуатационные комплекты
Вид изделия 90-99 - детали, соединяющие трубопроводы, резьбовые пробки
Вид покрытия 6 - фосфатное с промасливанием (П2)
78 258014 Шплинт 2х20
Подробнее
Дополнительная информация:
Кол-во на "651669-320, 651669-340" 1
Покрытие без покрытия
Ремкомплект суппорта MERCEDES Sprinter,VW LT заднего лев/прав FRENKIT 79 258040 Шплинт 3,2х25
Подробнее
Дополнительная информация:
Кол-во на "651669-320, 651669-340" 3
Покрытие без покрытия
  Код Название Артикул Цена
Шплинт 3.2х25 092545 Шплинт 3.2х25 258040 2,00 р.
81 010-014-25-2-3 Кольцо
Подробнее
Дополнительная информация:
Кол-во на "651669-320, 651669-340" 6
82 020-025-30-2-3 Кольцо
Подробнее
Дополнительная информация:
Кол-во на "651669-320, 651669-340" 2
Шплинт 3.2х25 86 100-3537110 Кран моторного тормоза
Подробнее
Дополнительная информация:
Кол-во на "651669-320, 651669-340" 1
Модель 100
Группа Тормоза
Подгруппа Краны тормозные с ручным управлением
Порядковый номер детали 110
  Код Название Артикул Цена
Кран КАМАЗ аварийного растормаживания РААЗ 016089 Кран КАМАЗ аварийного растормаживания РААЗ 100-3537110 2 100,00 р.
Кран КАМАЗ аварийного растормаживания MEGAPOWER 590181 Кран КАМАЗ аварийного растормаживания MEGAPOWER 100-3537110 750,00 р.
92 64302-1703706 Корпус фиксатора
Подробнее
Дополнительная информация:
Кол-во на "651669-320, 651669-340" 1
Модель 64302
Группа Коробка передач
Подгруппа Механизм управления КПП
Порядковый номер детали 706
93 64302-1703707 Фиксатор
Подробнее
Дополнительная информация:
Кол-во на "651669-320, 651669-340" 1
Модель 64302
Группа Коробка передач
Подгруппа Механизм управления КПП
Порядковый номер детали 707
94 201.1702106 Пружина
Подробнее
Дополнительная информация:
Кол-во на "651669-320, 651669-340" 1
Модель 201
Группа Коробка передач
Подгруппа Механизм переключения передач
Порядковый номер детали 106
95 64302-1703708 Пробка
Подробнее
Дополнительная информация:
Кол-во на "651669-320, 651669-340" 1
Модель 64302
Группа Коробка передач
Подгруппа Механизм управления КПП
Порядковый номер детали 708
96 258027 Шплинт 2,5х32
Подробнее
Дополнительная информация:
Кол-во на "651669-320, 651669-340" 1
Покрытие без покрытия