← Шестерня ведущая среднего моста Дифференциал моста среднего →
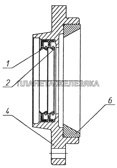
Крышка подшипника в сборе КамАЗ-6520
  Номер детали Наименование детали  
1 6520-2402176 Манжета с пружиной
Подробнее
Дополнительная информация:
Кол-во на "6520" 1
Модель 6520
Группа Мост задний
Подгруппа Редуктор заднего моста (главная передача)
Порядковый номер детали 176
2 6520-2402276 Манжета с пружиной
Подробнее
Дополнительная информация:
Кол-во на "6520" 1
Модель 6520
Группа Мост задний
Подгруппа Редуктор заднего моста (главная передача)
Порядковый номер детали 276
4 6520-2502051 Крышка подшипника
Подробнее
Дополнительная информация:
Кол-во на "6520" 1
Модель 6520
Группа Мост средний
Подгруппа Редуктор среднего моста (главная передача)
Порядковый номер детали 051
6 Кольцо наружное подшипника 27313 А Кольцо наружное подшипника 27313 А