← 53215-3718001 -85 Установка электромеханического корректора 4308-3722001-30 Установка предохранителей →
5320-3721001-10 Установка звуковых электрических сигналов КамАЗ-43253 (Часть-2)
  Номер детали Наименование детали  
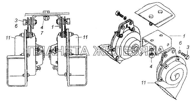
5320-3721001-10 Установка звуковых электрических сигналов
Подробнее
Дополнительная информация:
Кол-во на "43253-3902003 КД Часть 2 - Механизмы управления, Электрооборудование, Кузов" 1
Модель 5320
Группа Электрооборудование
Подгруппа Сигналы звуковые
Порядковый номер детали 001
Дополнительно Не взаимозаменяема с деталью, выпущенной ранее под этим же номером
532007-3721001-10 Установка звуковых электрических сигналов
Подробнее
Дополнительная информация:
Кол-во на "43253-3902003 КД Часть 2 - Механизмы управления, Электрооборудование, Кузов" 1
Модель 532007
Группа Электрооборудование
Подгруппа Сигналы звуковые
Порядковый номер детали 001
Дополнительно Не взаимозаменяема с деталью, выпущенной ранее под этим же номером
1 5425-3721254 Кронштейн
Подробнее
Дополнительная информация:
Кол-во на "43253-3902003 КД Часть 2 - Механизмы управления, Электрооборудование, Кузов" 1
Модель 5425
Группа Электрооборудование
Подгруппа Сигналы звуковые
Порядковый номер детали 254
3 1/09024/21 Болт М6-6gх20
Подробнее
Дополнительная информация:
Кол-во на "43253-3902003 КД Часть 2 - Механизмы управления, Электрооборудование, Кузов" 4
Крепежная деталь да
Материал сталь 80 (сталь с пределом прочности на разрыв 784-980 (80-100) МПа (кг/мм2)
Покрытие цинкование
4 1/61008/11 Гайка М8х1,25-6Н
Подробнее
Дополнительная информация:
Кол-во на "43253-3902003 КД Часть 2 - Механизмы управления, Электрооборудование, Кузов" 2
Крепежная деталь да
Материал сталь 50 (сталь с пределом прочности на разрыв 490-784 (50-80) МПа (кг/мм2)
Покрытие цинкование
6 1/05164/77 Шайба 6 пружинная
Подробнее
Дополнительная информация:
Кол-во на "43253-3902003 КД Часть 2 - Механизмы управления, Электрооборудование, Кузов" 4
Крепежная деталь да
Материал другие металлические материалы, т. е. не сталь, не латунь, не легкий сплав, не медь
Покрытие специальное покрытие
7 1/05166/77 Шайба 8 пружинная
Подробнее
Дополнительная информация:
Кол-во на "43253-3902003 КД Часть 2 - Механизмы управления, Электрооборудование, Кузов" 2
Крепежная деталь да
Материал другие металлические материалы, т. е. не сталь, не латунь, не легкий сплав, не медь
Покрытие специальное покрытие
11 4573742167 Комплект рупорных звуковых сигналов С306Д \ С307Д-01
Подробнее
Дополнительная информация:
Кол-во на "43253-3902003 КД Часть 2 - Механизмы управления, Электрооборудование, Кузов" 1
Примечание Нет
Группа Лебедка
Подгруппа 4573
Порядковый номер детали 742
Дополнительно Не взаимозаменяема с деталью, выпущенной ранее под этим же номером
11 4573742168 Комплект рупорных звуковых сигналов С306Д \ С307Д-01-Т ТУ37.003.533-79
Подробнее
Дополнительная информация:
Кол-во на "43253-3902003 КД Часть 2 - Механизмы управления, Электрооборудование, Кузов" 1
Примечание Нет
Группа Лебедка
Подгруппа 4573
Порядковый номер детали 742
Дополнительно Не взаимозаменяема с деталью, выпущенной ранее под этим же номером