| |
№ |
Номер детали |
Наименование детали |
|
|
|
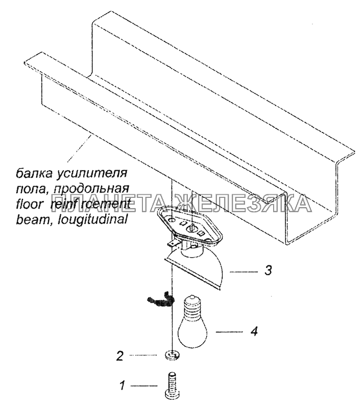
1 |
1/51873/01 |
Винт самонарезающий типа АВ №10x12,7
Подробнее
Дополнительная информация:
| Кол-во на "43253-3902003 КД Часть 2 - Механизмы управления, Электрооборудование, Кузов" |
2 |
| Примечание |
Нет |
| Крепежная деталь |
да |
| Материал |
сталь 40 (сталь с пределом прочности на разрыв 333-490 (34-50) МПа (кг/мм2) |
| Покрытие |
цинкование |
|
|
|
|
2 |
1/05164/77 |
Шайба 6 пружинная
Подробнее
Дополнительная информация:
| Кол-во на "43253-3902003 КД Часть 2 - Механизмы управления, Электрооборудование, Кузов" |
2 |
| Крепежная деталь |
да |
| Материал |
другие металлические материалы, т. е. не сталь, не латунь, не легкий сплав, не медь |
| Покрытие |
специальное покрытие |
|
|
|
|
3 |
4573747236 |
Лампа подкапотная ПД308Б-0
Подробнее
Дополнительная информация:
| Кол-во на "43253-3902003 КД Часть 2 - Механизмы управления, Электрооборудование, Кузов" |
1 |
| Примечание |
Нет |
| Группа |
Лебедка |
| Подгруппа |
4573 |
| Порядковый номер детали |
747 |
| Дополнительно |
Не взаимозаменяема с деталью, выпущенной ранее под этим же номером |
|
|
|
|
4 |
346621241003 |
Лампа А24-21-3
Подробнее
Дополнительная информация:
| Кол-во на "43253-3902003 КД Часть 2 - Механизмы управления, Электрооборудование, Кузов" |
1 |
| Примечание |
Нет |
| Группа |
Управление рулевое |
| Подгруппа |
3466 |
| Порядковый номер детали |
212 |
| Дополнительно |
Не взаимозаменяема с деталью, выпущенной ранее под этим же номером |
|
|