← Установка кабины с оперением Э4308-5000006 Кронштейн переднего крепления кабины верхний в сборе 5320-5001010 →
Установка задней подвески кабины Э4308-5001006 КамАЗ-4308
  Номер детали Наименование детали  
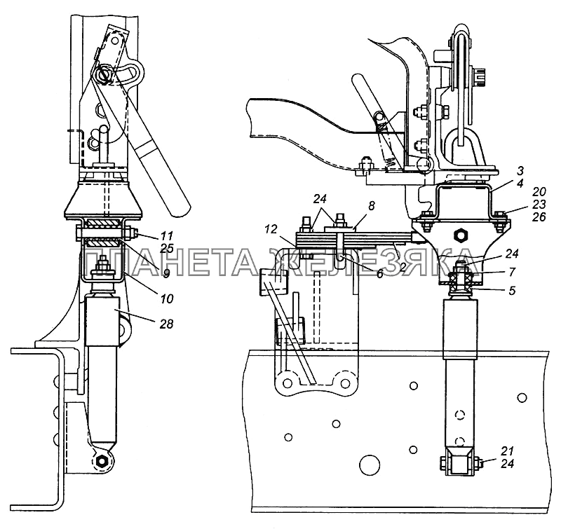
2 5320-5001080 Рессора в сборе
Подробнее
Дополнительная информация:
Кол-во на "КамАЗ 4308" 2
Модель 5320
Группа Кабина (Кузов)
Подгруппа Крепление кабины (кузова)
Порядковый номер детали 080
  Код Название Артикул Цена
Рессора КАМАЗ под кабину 017342 Рессора КАМАЗ под кабину 5320-5001080 2 800,00 р.
3 5320-5018060 Кронштейн запора кабины правый в сборе
Подробнее
Дополнительная информация:
Кол-во на "КамАЗ 4308" 1
Модель 5320
Группа Кабина (Кузов)
Подгруппа 5018
Порядковый номер детали 060
4 5320-5018061 Кронштейн запора кабины левый в сборе
Подробнее
Дополнительная информация:
Кол-во на "КамАЗ 4308" 1
Модель 5320
Группа Кабина (Кузов)
Подгруппа 5018
Порядковый номер детали 061
5 5320-1302037 Подушка крепления радиатора
Подробнее
Дополнительная информация:
Кол-во на "КамАЗ 4308" 4
Модель 5320
Группа Система охлаждения
Подгруппа Подвеска радиатора
Порядковый номер детали 037
Рессора КАМАЗ под кабину 6 5320-5001058 Стремянка
Подробнее
Дополнительная информация:
Кол-во на "КамАЗ 4308" 2
Модель 5320
Группа Кабина (Кузов)
Подгруппа Крепление кабины (кузова)
Порядковый номер детали 058
  Код Название Артикул Цена
Стремянка КАМАЗ рессоры кабины h=70x10x1.25мм 085776 Стремянка КАМАЗ рессоры кабины h=70x10x1.25мм 5320-5001058 100,00 р.
Стремянка КАМАЗ рессоры кабины h=60x10x1.25мм КАМАЗ ПАО 901940 Стремянка КАМАЗ рессоры кабины h=60x10x1.25мм КАМАЗ ПАО 5320-5001058 180,00 р.
7 5320-5001079 Шайба опорная
Подробнее
Дополнительная информация:
Кол-во на "КамАЗ 4308" 2
Модель 5320
Группа Кабина (Кузов)
Подгруппа Крепление кабины (кузова)
Порядковый номер детали 079
8 53205-5001097 Прокладка рессоры
Подробнее
Дополнительная информация:
Кол-во на "КамАЗ 4308" 2
Модель 53205
Группа Кабина (Кузов)
Подгруппа Крепление кабины (кузова)
Порядковый номер детали 097
9 5320-5001099 Втулка рессоры
Подробнее
Дополнительная информация:
Кол-во на "КамАЗ 4308" 4
Модель 5320
Группа Кабина (Кузов)
Подгруппа Крепление кабины (кузова)
Порядковый номер детали 099
10 Э4308-5001101 Обойма рессоры
Подробнее
Дополнительная информация:
Кол-во на "КамАЗ 4308" 2
Модель Р­4308
Группа Кабина (Кузов)
Подгруппа Крепление кабины (кузова)
Порядковый номер детали 101
Стремянка КАМАЗ рессоры кабины h=60x10x1.25мм КАМАЗ ПАО 11 5320-5001103 Ось ушка рессоры
Подробнее
Дополнительная информация:
Кол-во на "КамАЗ 4308" 2
Модель 5320
Группа Кабина (Кузов)
Подгруппа Крепление кабины (кузова)
Порядковый номер детали 103
  Код Название Артикул Цена
Ось КАМАЗ ушка рессоры кабины БЕЛЗАН 518676 Ось КАМАЗ ушка рессоры кабины БЕЛЗАН 5320-5001103 85,00 р.
12 4310-5001105 Прокладка листа рессоры №5
Подробнее
Дополнительная информация:
Кол-во на "КамАЗ 4308" 2
Модель 4310
Группа Кабина (Кузов)
Подгруппа Крепление кабины (кузова)
Порядковый номер детали 105
20 1/60436/21 Болт М8-6gх25
Подробнее
Дополнительная информация:
Кол-во на "КамАЗ 4308" 8
Крепежная деталь да
Материал сталь 80 (сталь с пределом прочности на разрыв 784-980 (80-100) МПа (кг/мм2)
Покрытие цинкование
21 1/58887/21 Болт М10х1,25-6gх55
Подробнее
Дополнительная информация:
Кол-во на "КамАЗ 4308" 2
Крепежная деталь да
Материал сталь 80 (сталь с пределом прочности на разрыв 784-980 (80-100) МПа (кг/мм2)
Покрытие цинкование
23 251645 Гайка М8-6Н ОСТ 37.001.197-75
Подробнее
Дополнительная информация:
Кол-во на "КамАЗ 4308" 8
Покрытие без покрытия
Ось КАМАЗ ушка рессоры кабины БЕЛЗАН 24 251646 Гайка М10х1,25-6Н ОСТ 37.001.197-75
Подробнее
Дополнительная информация:
Кол-во на "КамАЗ 4308" 10
Покрытие без покрытия
  Код Название Артикул Цена
Гайка М10х1.25 стопорная 462860 Гайка М10х1.25 стопорная 251646 17,00 р.
25 251647 Гайка М12х1,25-6Н ОСТ 37.001.197-97
Подробнее
Дополнительная информация:
Кол-во на "КамАЗ 4308" 2
Покрытие без покрытия
26 1/05196/01 Шайба плоская 8х17
Подробнее
Дополнительная информация:
Кол-во на "КамАЗ 4308" 16
Крепежная деталь да
Материал сталь 40 (сталь с пределом прочности на разрыв 333-490 (34-50) МПа (кг/мм2)
Покрытие цинкование
28 75.0.0.0.0.000-04 Амортизатор в сборе
Подробнее
Дополнительная информация:
Кол-во на "КамАЗ 4308" 2