← Установка двухсекционного тормозного крана 3520-3500014 Установка ускорительного клапана 4308-3500018 →
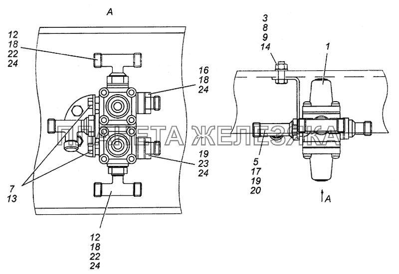
Установка четырехконтурного защитного клапана 4308-3500015 КамАЗ-4308
  Номер детали Наименование детали  
1 53205-3515400-10 Клапан защитный четырехконтурный в сборе
Подробнее
Дополнительная информация:
Кол-во на "КамАЗ 4308" 1
Модель 53205
Группа Тормоза
Подгруппа Клапан-ограничитель падения давления (аппар. контрольно-предохранительная)
Порядковый номер детали 400
Дополнительно Не взаимозаменяема с деталью, выпущенной ранее под этим же номером
  Код Название Артикул Цена
Клапан КАМАЗ защитный 4-х контурный НУР-ТЕХ 690464 Клапан КАМАЗ защитный 4-х контурный НУР-ТЕХ 53205-3515400-10 5 600,00 р.
3 5320-3515219-10 Кронштейн
Подробнее
Дополнительная информация:
Кол-во на "КамАЗ 4308" 1
Модель 5320
Группа Тормоза
Подгруппа Клапан-ограничитель падения давления (аппар. контрольно-предохранительная)
Порядковый номер детали 219
Дополнительно Не взаимозаменяема с деталью, выпущенной ранее под этим же номером
5 740-1003439 Кольцо уплотнительное
Подробнее
Дополнительная информация:
Модель 740
Группа Двигатель
Подгруппа Головка блока цилиндров
Порядковый номер детали 439
7 1/60432/21 Болт М8-6gх16
Подробнее
Дополнительная информация:
Кол-во на "КамАЗ 4308" 2
Крепежная деталь да
Материал сталь 80 (сталь с пределом прочности на разрыв 784-980 (80-100) МПа (кг/мм2)
Покрытие цинкование
8 1/59705/21 Болт М10х1,25-6gх20
Подробнее
Дополнительная информация:
Кол-во на "КамАЗ 4308" 2
Крепежная деталь да
Материал сталь 80 (сталь с пределом прочности на разрыв 784-980 (80-100) МПа (кг/мм2)
Покрытие цинкование
9 1/21647/11 Гайка М10х1,25-6Н
Подробнее
Дополнительная информация:
Кол-во на "КамАЗ 4308" 2
Крепежная деталь да
Материал сталь 50 (сталь с пределом прочности на разрыв 490-784 (50-80) МПа (кг/мм2)
Покрытие цинкование
12 1/07914/11 Гайка низкая М16х1,5-6Н
Подробнее
Дополнительная информация:
Кол-во на "КамАЗ 4308" 2
Крепежная деталь да
Материал сталь 50 (сталь с пределом прочности на разрыв 490-784 (50-80) МПа (кг/мм2)
Покрытие цинкование
13 1/05166/77 Шайба 8 пружинная
Подробнее
Дополнительная информация:
Кол-во на "КамАЗ 4308" 2
Крепежная деталь да
Материал другие металлические материалы, т. е. не сталь, не латунь, не легкий сплав, не медь
Покрытие специальное покрытие
14 1/05168/77 Шайба 10 пружинная
Подробнее
Дополнительная информация:
Кол-во на "КамАЗ 4308" 2
Крепежная деталь да
Материал другие металлические материалы, т. е. не сталь, не латунь, не легкий сплав, не медь
Покрытие специальное покрытие
16 853976 Штуцер ввертный
Подробнее
Дополнительная информация:
Кол-во на "КамАЗ 4308" 1
Покрытие без покрытия
17 861021 Гайка М22х1,5-6Н
Подробнее
Дополнительная информация:
Кол-во на "КамАЗ 4308" 1
Покрытие без покрытия
Клапан КАМАЗ защитный 4-х контурный НУР-ТЕХ 18 861023 Шайба
Подробнее
Дополнительная информация:
Кол-во на "КамАЗ 4308" 4
Покрытие без покрытия
  Код Название Артикул Цена
Шайба КАМАЗ малая D=16мм РТС 657146 Шайба КАМАЗ малая D=16мм РТС 861023 7,00 р.
Шайба тарельчатая! d=16 КАМАЗ ПАО (ПОД ЗАКАЗ) 657409 Шайба тарельчатая! d=16 КАМАЗ ПАО (ПОД ЗАКАЗ) 861023 40,00 р.
Шайба тарельчатая! d=16 КАМАЗ ПАО (ПОД ЗАКАЗ) 19 861024 Шайба
Подробнее
Дополнительная информация:
Кол-во на "КамАЗ 4308" 1
Покрытие без покрытия
  Код Название Артикул Цена
Шайба КАМАЗ большая D=22мм РТС 657398 Шайба КАМАЗ большая D=22мм РТС 861024 7,00 р.
20 861032 Тройник
Подробнее
Дополнительная информация:
Кол-во на "КамАЗ 4308" 1
Покрытие без покрытия
22 861035 Тройник
Подробнее
Дополнительная информация:
Кол-во на "КамАЗ 4308" 2
Покрытие без покрытия
Шайба КАМАЗ большая D=22мм РТС 23 864896 Штуцер ввертный
Подробнее
Дополнительная информация:
Кол-во на "КамАЗ 4308" 1
Покрытие без покрытия
  Код Название Артикул Цена
Штуцер М14х16 КАМАЗ ввертный 755294 Штуцер М14х16 КАМАЗ ввертный 864896 50,00 р.
24 864236 Кольцо уплотнительное
Подробнее
Дополнительная информация:
Кол-во на "КамАЗ 4308" 4
Покрытие без покрытия