← Электрооборудование. Расположение на автомобиле 34308-3700001-10 Комплект головных фар и передних указателей поворота Э4308-3711000 →
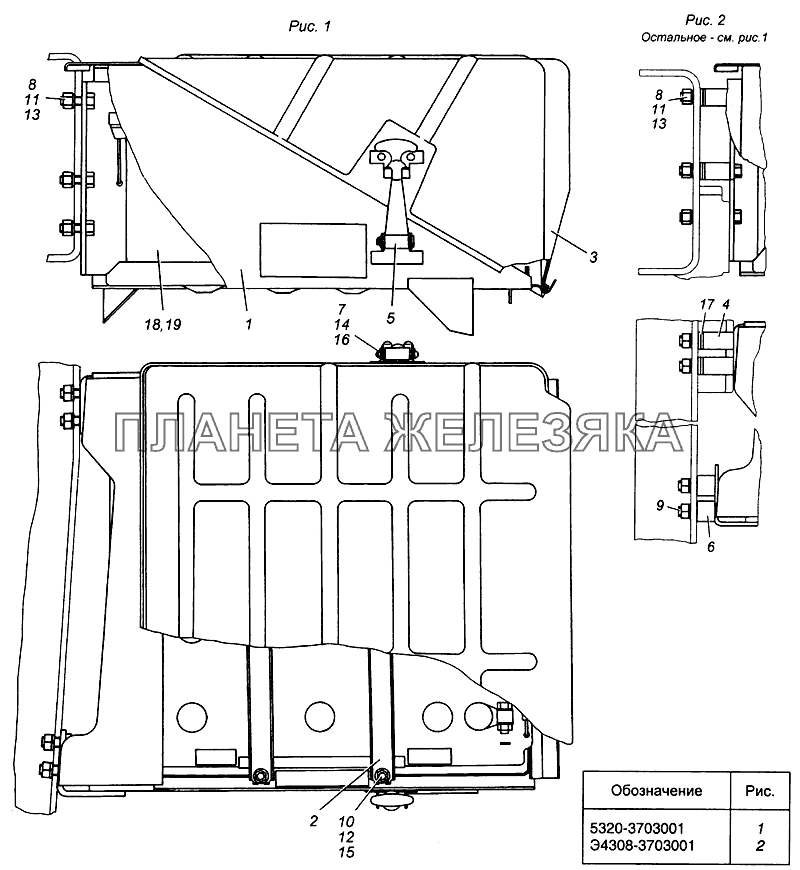
Установка аккумуляторных батарей Э4308-3703001 КамАЗ-4308
  Номер детали Наименование детали  
1 4310-3703058-30 Гнездо аккумуляторных батарей
Подробнее
Дополнительная информация:
Кол-во на "КамАЗ 4308" 1
Модель 4310
Группа Электрооборудование
Подгруппа Батарея аккумуляторная
Порядковый номер детали 058
Дополнительно Не взаимозаменяема с деталью, выпущенной ранее под этим же номером
2 5320-3703084 Рамка крепления аккумуляторных батарей в сборе
Подробнее
Дополнительная информация:
Кол-во на "КамАЗ 4308" 1
Модель 5320
Группа Электрооборудование
Подгруппа Батарея аккумуляторная
Порядковый номер детали 084
  Код Название Артикул Цена
Рамка КАМАЗ АКБ КАМАЗ ПАО 117671 Рамка КАМАЗ АКБ КАМАЗ ПАО 5320-3703084 900,00 р.
3 4310-3703158-20 Крышка гнезда аккумуляторных батарей
Подробнее
Дополнительная информация:
Кол-во на "КамАЗ 4308" 1
Модель 4310
Группа Электрооборудование
Подгруппа Батарея аккумуляторная
Порядковый номер детали 158
Дополнительно Не взаимозаменяема с деталью, выпущенной ранее под этим же номером
4 6460-3703005 Втулка
Подробнее
Дополнительная информация:
Кол-во на "КамАЗ 4308" 3
Модель 6460
Группа Электрооборудование
Подгруппа Батарея аккумуляторная
Порядковый номер детали 005
Рамка КАМАЗ АКБ КАМАЗ ПАО 5 4310-8047013 Ручка запора
Подробнее
Дополнительная информация:
Кол-во на "КамАЗ 4308" 2
Модель 4310
Группа Оборудование специализированное
Подгруппа 8047
Порядковый номер детали 013
  Код Название Артикул Цена
Ручка КАМАЗ запора мотоотсека 070381 Ручка КАМАЗ запора мотоотсека 4310-8047013 45,00 р.
Ручка КАМАЗ запора мотоотсека с крючком 287497 Ручка КАМАЗ запора мотоотсека с крючком 4310-8047013 700,00 р.
Ручка КАМАЗ запора мотоотсека УРК ОАО 733292 Ручка КАМАЗ запора мотоотсека УРК ОАО 4310-8047013 120,00 р.
6 65116-3703005 Втулка
Подробнее
Дополнительная информация:
Кол-во на "КамАЗ 4308" 4
Модель 65116
Группа Электрооборудование
Подгруппа Батарея аккумуляторная
Порядковый номер детали 005
7 260022 Палец 6х45.01 ОСТ 37.001.163-97
Подробнее
Дополнительная информация:
Кол-во на "КамАЗ 4308" 2
Покрытие без покрытия
8 1/55414/21 Болт М12х1,25-6gх80
Подробнее
Дополнительная информация:
Кол-во на "КамАЗ 4308" 4
Крепежная деталь да
Материал сталь 80 (сталь с пределом прочности на разрыв 784-980 (80-100) МПа (кг/мм2)
Покрытие цинкование
9 1/55409/31 Болт М12х1,25-6gх55
Подробнее
Дополнительная информация:
Кол-во на "КамАЗ 4308" 4
Крепежная деталь да
Материал сталь 100 (сталь с пределом прочности на разрыв 980-1176 (100-120) МПа (кг/мм2)
Покрытие цинкование
10 1/21647/11 Гайка М10х1,25-6Н
Подробнее
Дополнительная информация:
Кол-во на "КамАЗ 4308" 4
Крепежная деталь да
Материал сталь 50 (сталь с пределом прочности на разрыв 490-784 (50-80) МПа (кг/мм2)
Покрытие цинкование
11 1/61015/11 Гайка М12х1,25-6Н
Подробнее
Дополнительная информация:
Кол-во на "КамАЗ 4308" 8
Крепежная деталь да
Материал сталь 50 (сталь с пределом прочности на разрыв 490-784 (50-80) МПа (кг/мм2)
Покрытие цинкование
12 1/05168/77 Шайба 10 пружинная
Подробнее
Дополнительная информация:
Кол-во на "КамАЗ 4308" 4
Крепежная деталь да
Материал другие металлические материалы, т. е. не сталь, не латунь, не легкий сплав, не медь
Покрытие специальное покрытие
13 1/05170/77 Шайба 12 пружинная
Подробнее
Дополнительная информация:
Кол-во на "КамАЗ 4308" 8
Крепежная деталь да
Материал другие металлические материалы, т. е. не сталь, не латунь, не легкий сплав, не медь
Покрытие специальное покрытие
14 1/05194/01 Шайба плоская 6х12х1,5
Подробнее
Дополнительная информация:
Кол-во на "КамАЗ 4308" 2
Крепежная деталь да
Материал сталь 40 (сталь с пределом прочности на разрыв 333-490 (34-50) МПа (кг/мм2)
Покрытие цинкование
15 1/26386/01 Шайба плоская 10,6х18х2
Подробнее
Дополнительная информация:
Кол-во на "КамАЗ 4308" 4
Крепежная деталь да
Материал сталь 40 (сталь с пределом прочности на разрыв 333-490 (34-50) МПа (кг/мм2)
Покрытие цинкование
16 1/07342/01 Шплинт разводной 2х15
Подробнее
Дополнительная информация:
Кол-во на "КамАЗ 4308" 2
Крепежная деталь да
Материал сталь 40 (сталь с пределом прочности на разрыв 333-490 (34-50) МПа (кг/мм2)
Покрытие цинкование
17 1/26469/01 Шайба плоская 12,6х28х3
Подробнее
Дополнительная информация:
Кол-во на "КамАЗ 4308" 8
Крепежная деталь да
Материал сталь 40 (сталь с пределом прочности на разрыв 333-490 (34-50) МПа (кг/мм2)
Покрытие цинкование
18 3481111138 Батарея 6СТ-190А ТУ 16-729.384-83
Подробнее
Дополнительная информация:
Кол-во на "КамАЗ 4308" 2
Группа Управление рулевое
Подгруппа 3481
Порядковый номер детали 111
Дополнительно Не взаимозаменяема с деталью, выпущенной ранее под этим же номером