← 4308-2803004 Установка облицовки буфера 5410-2806040 Установка буксирной проушины →
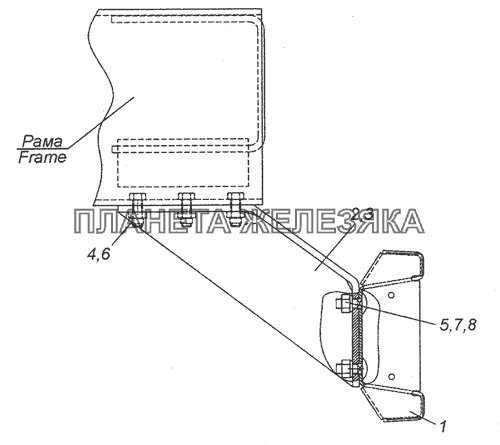
4308-2804003 Установка заднего буфера КамАЗ-4308 (2008)
  Номер детали Наименование детали  
1 4308-2804010 Буфер задний
Подробнее
Дополнительная информация:
Кол-во на "4308" 1
Модель 4308
Группа Рама
Подгруппа Буфер задний
Порядковый номер детали 010
2 4308-2804026 Кронштейн заднего буфера правый
Подробнее
Дополнительная информация:
Кол-во на "4308" 1
Модель 4308
Группа Рама
Подгруппа Буфер задний
Порядковый номер детали 026
3 4308-2804027 Кронштейн заднего буфера левый
Подробнее
Дополнительная информация:
Кол-во на "4308" 1
Модель 4308
Группа Рама
Подгруппа Буфер задний
Порядковый номер детали 027
4 251648 Гайка М14х1,5-6Н ОСТ 37.001.197-75
Подробнее
Дополнительная информация:
Кол-во на "4308" 6
Покрытие без покрытия
  Код Название Артикул Цена
Гайка М14х1.5 КАМАЗ,УРАЛ ведомой шестерни насоса масляного под ключ 22 067008 Гайка М14х1.5 КАМАЗ,УРАЛ ведомой шестерни насоса масляного под ключ 22 251648 50,00 р.
Гайка М14х1.5 КАМАЗ,УРАЛ ведомой шестерни насоса масляного под ключ 22 5 853020 Болт М12х1,25-6gх30
Подробнее
Дополнительная информация:
Кол-во на "4308" 4
Покрытие без покрытия
  Код Название Артикул Цена
Болт М12х30х1,25-6g бампера переднего КАМАЗ 4 наимен.СБ БЕЛЗАН 241101 Болт М12х30х1,25-6g бампера переднего КАМАЗ 4 наимен.СБ БЕЛЗАН 853020 60,00 р.
6 1/14083/21 Болт М14х1,5-6gх35
Подробнее
Дополнительная информация:
Кол-во на "4308" 6
Крепежная деталь да
Материал сталь 80 (сталь с пределом прочности на разрыв 784-980 (80-100) МПа (кг/мм2)
Покрытие цинкование
7 1/61015/11 Гайка М12х1,25-6Н
Подробнее
Дополнительная информация:
Кол-во на "4308" 4
Крепежная деталь да
Материал сталь 50 (сталь с пределом прочности на разрыв 490-784 (50-80) МПа (кг/мм2)
Покрытие цинкование
8 1/05170/77 Шайба 12 пружинная
Подробнее
Дополнительная информация:
Кол-во на "4308" 4
Крепежная деталь да
Материал другие металлические материалы, т. е. не сталь, не латунь, не легкий сплав, не медь
Покрытие специальное покрытие