← Электрооборудование по кабине Установка батарей аккумуляторных (12 В) →
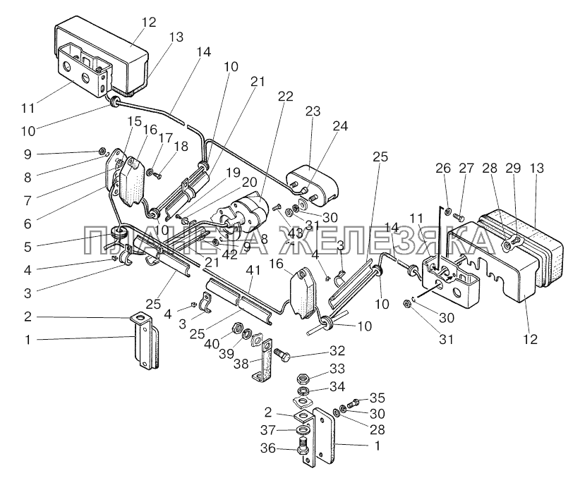
Установка фонарей задних Беларус-800/900
  Номер детали Наименование детали  
1 3202.3731 Световозвращатель
Подробнее
Дополнительная информация:
Кол-во на "800, 820, 890, 892, 900, 920, 950, 952" 2
  Код Название Артикул Цена
Катафот габаритный полуприцепа красный РУДЕНСК 097306 Катафот габаритный полуприцепа красный РУДЕНСК 3202.3731 154,00 р.
2 Ф50-3731011 Кронштейн
Подробнее
Дополнительная информация:
Кол-во на "800, 820, 890, 892, 900, 920, 950, 952" 2
Модель Р¤50
Группа Электрооборудование
Подгруппа Фонарь сигнальный
Порядковый номер детали 011
3 80-3723043 Скоба
Подробнее
Дополнительная информация:
Кол-во на "800, 820, 890, 892, 900, 920, 950, 952" 6
Модель 80
Группа Электрооборудование
Подгруппа Соединители электропроводов
Порядковый номер детали 043
4 70-3723033 Скоба
Подробнее
Дополнительная информация:
Кол-во на "800, 820, 890, 892, 900, 920, 950, 952" 6
Модель 70
Группа Электрооборудование
Подгруппа Соединители электропроводов
Порядковый номер детали 033
5 80-3723048 Втулка
Подробнее
Дополнительная информация:
Кол-во на "800, 820, 890, 892, 900, 920, 950, 952" 1
Модель 80
Группа Электрооборудование
Подгруппа Соединители электропроводов
Порядковый номер детали 048
6 80-3723021 Планка
Подробнее
Дополнительная информация:
Кол-во на "800, 820, 890, 892, 900, 920, 950, 952" 2
Модель 80
Группа Электрооборудование
Подгруппа Соединители электропроводов
Порядковый номер детали 021
Катафот габаритный полуприцепа красный РУДЕНСК 7 15.3723 Панель соединительная
Подробнее
Дополнительная информация:
Кол-во на "800, 820, 890, 892, 900, 920, 950, 952" 2
  Код Название Артикул Цена
Панель соединительная 3-х клемм.ГАЗ-53,ГАЗ-52 ЛЭТЗ 016625 Панель соединительная 3-х клемм.ГАЗ-53,ГАЗ-52 ЛЭТЗ 15.3723 91,00 р.
8 ШЧ5 Шайба
Подробнее
Дополнительная информация:
Кол-во на "800, 820, 890, 892, 900, 920, 950, 952" 7
9 М5 Гайка
Подробнее
Дополнительная информация:
Кол-во на "800, 820, 890, 892, 900, 920, 950, 952" 7
10 70-3723042-01 Втулка
Подробнее
Дополнительная информация:
Кол-во на "800, 820, 890, 892, 900, 920, 950, 952" 6
Модель 70
Группа Электрооборудование
Подгруппа Соединители электропроводов
Порядковый номер детали 042
11 85-3716012 Кронштейн
Подробнее
Дополнительная информация:
Кол-во на "800, 820, 890, 892, 900, 920, 950, 952" 2
Модель 85
Группа Электрооборудование
Подгруппа Фонари задние
Порядковый номер детали 012
Панель соединительная 3-х клемм.ГАЗ-53,ГАЗ-52 ЛЭТЗ 12 85-3716015 Кожух
Подробнее
Дополнительная информация:
Кол-во на "800, 820, 890, 892, 900, 920, 950, 952" 2
Модель 85
Группа Электрооборудование
Подгруппа Фонари задние
Порядковый номер детали 015
  Код Название Артикул Цена
Кожух МТЗ заднего фонаря ОАО МТЗ 726243 Кожух МТЗ заднего фонаря ОАО МТЗ 85-3716015 670,00 р.
Кожух МТЗ заднего фонаря ОАО МТЗ 13 7303.3716 Фонарь задний
Подробнее
Дополнительная информация:
Кол-во на "800, 820, 890, 892, 900, 920, 950, 952" 2
  Код Название Артикул Цена
Фонарь задний МТЗ,с/х Н/О 12V РУДЕНСК 095241 Фонарь задний МТЗ,с/х Н/О 12V РУДЕНСК 7303.3716 1 150,00 р.
14 85-3724161 Жгут
Подробнее
Дополнительная информация:
Кол-во на "800, 820, 890, 892, 900, 920, 950, 952" 2
Модель 85
Группа Электрооборудование
Подгруппа Электропровода
Порядковый номер детали 161
15 ВМ5x22 Винт
Подробнее
Дополнительная информация:
Кол-во на "800, 820, 890, 892, 900, 920, 950, 952" 4
16 70-3723056 Крышка
Подробнее
Дополнительная информация:
Кол-во на "800, 820, 890, 892, 900, 920, 950, 952" 2
Модель 70
Группа Электрооборудование
Подгруппа Соединители электропроводов
Порядковый номер детали 056
17 ШЧ6 Шайба
Подробнее
Дополнительная информация:
Кол-во на "800, 820, 890, 892, 900, 920, 950, 952" 4
18 ВМ5x25 Винт
Подробнее
Дополнительная информация:
Кол-во на "800, 820, 890, 892, 900, 920, 950, 952" 4
19 2-4x16 Шуруп
Подробнее
Дополнительная информация:
Кол-во на "800, 820, 890, 892, 900, 920, 950, 952" 2
20 А37.10.031 Бонка
Подробнее
Дополнительная информация:
Кол-во на "800, 820, 890, 892, 900, 920, 950, 952" 2
21 80-3723025-01 Желоб
Подробнее
Дополнительная информация:
Кол-во на "800, 820, 890, 892, 900, 920, 950, 952" 2
Модель 80
Группа Электрооборудование
Подгруппа Соединители электропроводов
Порядковый номер детали 025
22 Р9-1 Розетка
Подробнее
Дополнительная информация:
Кол-во на "800, 820, 890, 892, 900, 920, 950, 952" 1
23 ФП131-А Фонарь освещения номерного знака
Подробнее
Дополнительная информация:
Кол-во на "800, 820, 890, 892, 900, 920, 950, 952" 1
24 70-3723035 Наконечник
Подробнее
Дополнительная информация:
Кол-во на "800, 820, 890, 892, 900, 920, 950, 952" 1
Модель 70
Группа Электрооборудование
Подгруппа Соединители электропроводов
Порядковый номер детали 035
25 80-3723042 Желоб
Подробнее
Дополнительная информация:
Кол-во на "800, 820, 890, 892, 900, 920, 950, 952" 3
Модель 80
Группа Электрооборудование
Подгруппа Соединители электропроводов
Порядковый номер детали 042
26 ШП8 Шайба
Подробнее
Дополнительная информация:
Кол-во на "800, 820, 890, 892, 900, 920, 950, 952" 4
27 М8x16 Болт
Подробнее
Дополнительная информация:
Кол-во на "800, 820, 890, 892, 900, 920, 950, 952" 4
28 ШЧ6 Шайба
Подробнее
Дополнительная информация:
Кол-во на "800, 820, 890, 892, 900, 920, 950, 952" 8
29 ВМ6x16 Винт
Подробнее
Дополнительная информация:
Кол-во на "800, 820, 890, 892, 900, 920, 950, 952" 4
30 ШП6 Шайба
Подробнее
Дополнительная информация:
Кол-во на "800, 820, 890, 892, 900, 920, 950, 952" 10
31 M6 Гайка
Подробнее
Дополнительная информация:
Кол-во на "800, 820, 890, 892, 900, 920, 950, 952" 6
32 М12x25 Болт
Подробнее
Дополнительная информация:
Кол-во на "800, 820, 890, 892, 900, 920, 950, 952" 1
33 М10 Гайка
Подробнее
Дополнительная информация:
Кол-во на "800, 820, 890, 892, 900, 920, 950, 952" 2
34 ШП10 Шайба
Подробнее
Дополнительная информация:
Кол-во на "800, 820, 890, 892, 900, 920, 950, 952" 2
35 ВМ6x12 Винт
Подробнее
Дополнительная информация:
Кол-во на "800, 820, 890, 892, 900, 920, 950, 952" 4
36 М10x25 Болт
Подробнее
Дополнительная информация:
Кол-во на "800, 820, 890, 892, 900, 920, 950, 952" 2
37 ШЧ10 Шайба
Подробнее
Дополнительная информация:
Кол-во на "800, 820, 890, 892, 900, 920, 950, 952" 2
38 80-3724112 Перемычка массы
Подробнее
Дополнительная информация:
Кол-во на "800, 820, 890, 892, 900, 920, 950, 952" 1
Модель 80
Группа Электрооборудование
Подгруппа Электропровода
Порядковый номер детали 112
39 ШП12 Шайба
Подробнее
Дополнительная информация:
Кол-во на "800, 820, 890, 892, 900, 920, 950, 952" 1
40 М12 Гайка
Подробнее
Дополнительная информация:
Кол-во на "800, 820, 890, 892, 900, 920, 950, 952" 1
41 80-3724300В Жгут
Подробнее
Дополнительная информация:
Кол-во на "800, 820, 890, 892, 900, 920, 950, 952" 1
Модель 80
Группа Электрооборудование
Подгруппа Электропровода
Порядковый номер детали 300
Дополнительно Взаимозаменяема с деталью, выпущенной ранее под этим же номером
42 85-3723041-01 Скоба
Подробнее
Дополнительная информация:
Кол-во на "800, 820, 890, 892, 900, 920, 950, 952" 2
Модель 85
Группа Электрооборудование
Подгруппа Соединители электропроводов
Порядковый номер детали 041
43 ВМ5x35 Винт
Подробнее
Дополнительная информация:
Кол-во на "800, 820, 890, 892, 900, 920, 950, 952" 3