← Гидроцилиндр Ц50 и арматура ГОРУ (ПВМ 72-2300020) (820, 892, 920, 952) Тормоза рабочие. Управление тормозами →
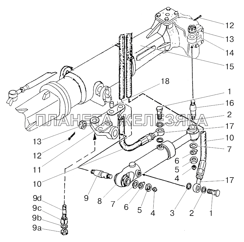
Гидроцилиндр Ц63 и арматура ГОРУ (ПВМ 822-2300020) Беларус-800/900
  Номер детали Наименование детали  
1.1.Ц6 Масленка
Подробнее
Дополнительная информация:
Кол-во на "800, 820, 890, 892, 900, 920, 950, 952" 2
102-3405111 Палец
Подробнее
Дополнительная информация:
Кол-во на "800, 820, 890, 892, 900, 920, 950, 952" 1
Модель 102
Группа Управление рулевое
Подгруппа Цилиндр силовой гидроусилителя
Порядковый номер детали 111
  Код Название Артикул Цена
Палец МТЗ-822,922,923 рулевого гидроцилиндра Ц-63 609237 Палец МТЗ-822,922,923 рулевого гидроцилиндра Ц-63 102-3405111 2 380,00 р.
102-3405112-01 Палец
Подробнее
Дополнительная информация:
Кол-во на "800, 820, 890, 892, 900, 920, 950, 952" 1
Модель 102
Группа Управление рулевое
Подгруппа Цилиндр силовой гидроусилителя
Порядковый номер детали 112
102-3405113 Гайка
Подробнее
Дополнительная информация:
Кол-во на "800, 820, 890, 892, 900, 920, 950, 952" 2
Модель 102
Группа Управление рулевое
Подгруппа Цилиндр силовой гидроусилителя
Порядковый номер детали 113
Палец МТЗ-822,922,923 рулевого гидроцилиндра Ц-63 1021-2308076 Кронштейн левый
Подробнее
Дополнительная информация:
Кол-во на "800, 820, 890, 892, 900, 920, 950, 952" 1
Модель 1021
Группа Мост ведущий передний
Подгруппа 2308
Порядковый номер детали 076
  Код Название Артикул Цена
Кронштейн МТЗ моста переднего ВЗТЗЧ 623881 Кронштейн МТЗ моста переднего ВЗТЗЧ 1021-2308076 4 230,00 р.
Кронштейн МТЗ моста переднего ВЗТЗЧ 1520-2308077 Втулка
Подробнее
Дополнительная информация:
Кол-во на "800, 820, 890, 892, 900, 920, 950, 952" 3
Модель 1520
Группа Мост ведущий передний
Подгруппа 2308
Порядковый номер детали 077
  Код Название Артикул Цена
Втулка МТЗ РБ 692650 Втулка МТЗ РБ 1520-2308077 340,00 р.
1520-2308079 Шпилька
Подробнее
Дополнительная информация:
Кол-во на "800, 820, 890, 892, 900, 920, 950, 952" 3
Модель 1520
Группа Мост ведущий передний
Подгруппа 2308
Порядковый номер детали 079
4x36 Шплинт
Подробнее
Дополнительная информация:
Кол-во на "800, 820, 890, 892, 900, 920, 950, 952" 2
822-2300020 Передний ведущий мост в сборе
Подробнее
Дополнительная информация:
Кол-во на "800, 820, 890, 892, 900, 920, 950, 952" 1
Примечание Нет
Модель 822
Группа Мост ведущий передний
Подгруппа Мост ведущий передний в сборе
Порядковый номер детали 020
822-2300020-02 Передний ведущий мост в сборе
Подробнее
Дополнительная информация:
Кол-во на "800, 820, 890, 892, 900, 920, 950, 952" 1
Модель 822
Группа Мост ведущий передний
Подгруппа Мост ведущий передний в сборе
Порядковый номер детали 020
822-2300020-04 Передний ведущий мост в сборе
Подробнее
Дополнительная информация:
Кол-во на "800, 820, 890, 892, 900, 920, 950, 952" 1
Примечание Нет
Модель 822
Группа Мост ведущий передний
Подгруппа Мост ведущий передний в сборе
Порядковый номер детали 020
822-2300020-05 Передний ведущий мост в сборе
Подробнее
Дополнительная информация:
Кол-во на "800, 820, 890, 892, 900, 920, 950, 952" 1
Модель 822
Группа Мост ведущий передний
Подгруппа Мост ведущий передний в сборе
Порядковый номер детали 020
822-2301023-Б Кронштейн
Подробнее
Дополнительная информация:
Кол-во на "800, 820, 890, 892, 900, 920, 950, 952" 1
Модель 822
Группа Мост ведущий передний
Подгруппа Картер переднего ведущего моста и коробки передач
Порядковый номер детали 023
Дополнительно Взаимозаменяема с деталью, выпущенной ранее под этим же номером
822-2301023-Б-01 Кронштейн
Подробнее
Дополнительная информация:
Кол-во на "800, 820, 890, 892, 900, 920, 950, 952" 1
Модель 822
Группа Мост ведущий передний
Подгруппа Картер переднего ведущего моста и коробки передач
Порядковый номер детали 023
Дополнительно Взаимозаменяема с деталью, выпущенной ранее под этим же номером
922-2301023-Б Кронштейн
Подробнее
Дополнительная информация:
Кол-во на "800, 820, 890, 892, 900, 920, 950, 952" 1
Модель 922
Группа Мост ведущий передний
Подгруппа Картер переднего ведущего моста и коробки передач
Порядковый номер детали 023
Дополнительно Взаимозаменяема с деталью, выпущенной ранее под этим же номером
922-2301023-Б-01 Кронштейн цилиндра
Подробнее
Дополнительная информация:
Кол-во на "800, 820, 890, 892, 900, 920, 950, 952" 1
Модель 922
Группа Мост ведущий передний
Подгруппа Картер переднего ведущего моста и коробки передач
Порядковый номер детали 023
Дополнительно Взаимозаменяема с деталью, выпущенной ранее под этим же номером
952-3407020 Переходник
Подробнее
Дополнительная информация:
Кол-во на "800, 820, 890, 892, 900, 920, 950, 952" 2
Модель 952
Группа Управление рулевое
Подгруппа Насос гидроусилителя механизма рулевого управления
Порядковый номер детали 020
952-3407100-04 Рукав высокого давления
Подробнее
Дополнительная информация:
Кол-во на "800, 820, 890, 892, 900, 920, 950, 952" 2
Модель 952
Группа Управление рулевое
Подгруппа Насос гидроусилителя механизма рулевого управления
Порядковый номер детали 100
D01-015 Штифт
Подробнее
Дополнительная информация:
Кол-во на "800, 820, 890, 892, 900, 920, 950, 952" 2
М12x1,5 Гайка
Подробнее
Дополнительная информация:
Кол-во на "800, 820, 890, 892, 900, 920, 950, 952" 2
М16 Гайка
Подробнее
Дополнительная информация:
Кол-во на "800, 820, 890, 892, 900, 920, 950, 952" 3
Ф80-3405103 Шайба стопорная
Подробнее
Дополнительная информация:
Кол-во на "800, 820, 890, 892, 900, 920, 950, 952" 2
Модель Р¤80
Группа Управление рулевое
Подгруппа Цилиндр силовой гидроусилителя
Порядковый номер детали 103
Ф80-3407114 Шайба
Подробнее
Дополнительная информация:
Кол-во на "800, 820, 890, 892, 900, 920, 950, 952" 4
Модель Р¤80
Группа Управление рулевое
Подгруппа Насос гидроусилителя механизма рулевого управления
Порядковый номер детали 114
Ф80-3407114 Шайба
Подробнее
Дополнительная информация:
Кол-во на "800, 820, 890, 892, 900, 920, 950, 952" 4
Модель Р¤80
Группа Управление рулевое
Подгруппа Насос гидроусилителя механизма рулевого управления
Порядковый номер детали 114
Ф80-3407201 Болт
Подробнее
Дополнительная информация:
Кол-во на "800, 820, 890, 892, 900, 920, 950, 952" 2
Модель Р¤80
Группа Управление рулевое
Подгруппа Насос гидроусилителя механизма рулевого управления
Порядковый номер детали 201
Ц50-3405115-02 Гидроцилиндр
Подробнее
Дополнительная информация:
Кол-во на "800, 820, 890, 892, 900, 920, 950, 952" 1
Модель Р¦50
Группа Управление рулевое
Подгруппа Цилиндр силовой гидроусилителя
Порядковый номер детали 115
Ц63-3405115-02 Гидроцилиндр
Подробнее
Дополнительная информация:
Кол-во на "800, 820, 890, 892, 900, 920, 950, 952" 1
Модель Р¦63
Группа Управление рулевое
Подгруппа Цилиндр силовой гидроусилителя
Порядковый номер детали 115
ШП16 Шайба
Подробнее
Дополнительная информация:
Кол-во на "800, 820, 890, 892, 900, 920, 950, 952" 3
ШЧ20 Шайба
Подробнее
Дополнительная информация:
Кол-во на "800, 820, 890, 892, 900, 920, 950, 952" 2